Lawn Mowers HR HR216 HR216 SXA# MACR-6000001-9999999 GRASS BAG - Trigreen Equipment

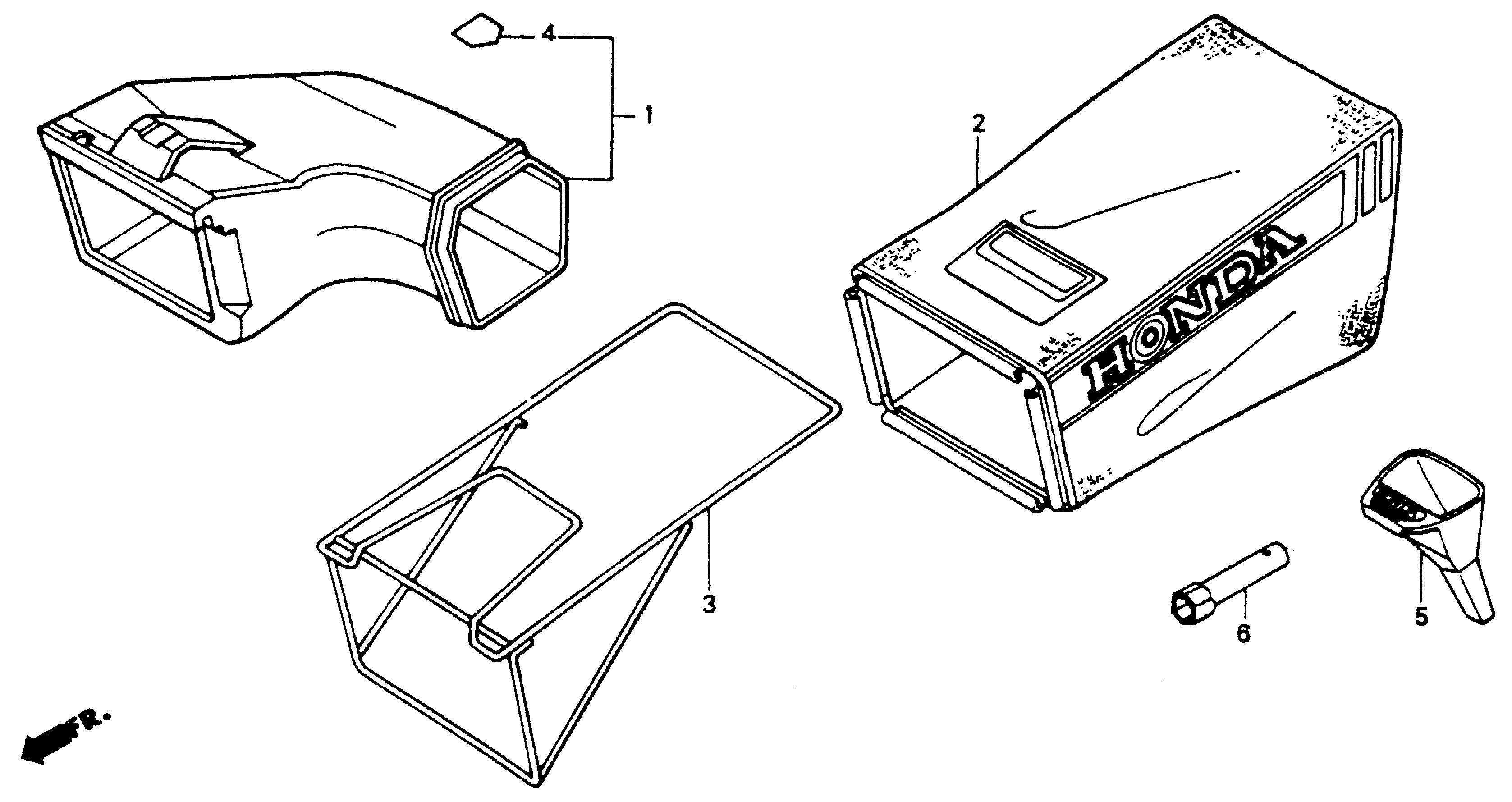
Ref No
Part Number
Description
Serial Range
Qty
Price

Ref No
1
Part Number
06814-VE2-030
Description
CHUTE KIT, SIDE DISCHARGE
Serial Range
1000001 - 9999999
Qty
Price
$65.54

Ref No
2
Part Number
81157-VA3-003
Description
FABRIC, GRASS BAG
Serial Range
1000001 - 9999999

Ref No
3
Part Number
81158-VA3-000
Description
FRAME, BAG
Serial Range
1000001 - 9999999
Qty
Price
$101.58

Ref No
4
Part Number
87104-VA2-000
Description
CAUTION C, HOUSING
Serial Range
1000001 - 9999999
Qty
Price
$1.78

Ref No
5
Part Number
89115-VA4-000
Description
FUNNEL, OIL
Serial Range
1000001 - 9999999
Qty
Price
$19.54

Ref No
6
Part Number
99004-21002
Description
WRENCH, BOX (P21)
Serial Range
1000001 - 9999999
Qty
Price
$4.72